Hardware:Coolstream:NEO² Twin
Inhaltsverzeichnis
- 1 Allgemeines
- 2 Varianten
- 3 Hardware
- 4 Technische Daten
- 5 Benutzeroberfläche
- 6 Geräteansichten
- 7 Fernbedienung
- 8 Innenleben
- 9 HowTos
- 10 Identifikation der verschiedenen Modelle
- 11 Bilder NEO Twin S/C
- 12 Weblinks
Allgemeines
Die NEO Twin wird (erst angekündigt!) bereits der vierte Receiver des Herstellers Coolstream. Auf dem Receiver kommt wie auf der HD1, Neo und der ZEE die GUI NeutrinoHD zum Einsatz.
Folgende Eigenschaften zeichnen die NEO Twin aus:
- HDTV-Twin-Receiver mit NeutrinoHD GUI
- Deinterlacer mit Bildausgabe bis zu 1080p
- Extrem schnelle Umschaltzeiten
Varianten
in der ersten Auslieferungen wird es nur 2 x SAT- oder 2 x Kabel-Tuner geben also noch keine Mischtuner
Hardware
- Modellname: NEO² HD1 ???
- Tuner: Sat / Kabel
- Release: voraussichtlich lieferbar ab 16.04.2012
Technische Daten
- Abmessungen (BxHxT) 360 × 65 × 225mm
- 1 Twin Tunersteckplatz für wahlweise SAT-Twin-Tuner oder KABEL-Twin-Tuner
- 2 SmartCardReader
- 1 Common Interface Steckplatz
Benutzeroberfläche
Auf der NEO Twin kommt ebenfalls wie bei den Singletunergeräten NeutrinoHD als GUI zum Einsatz.
Geräteansichten
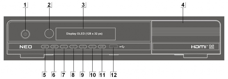
Die Coolstream NEO Twin verfügt über diverse Anschlussmöglichkeiten. An der Frontseite befinden sich das Display, Bedientasten, Schächte für Smartcards sowie ein USB-Anschluß, an der Rückseite Anschlüsse für HDMI, Scart, eSATA und vieles mehr.
Frontseite
| Nummer | Taste | Funktion |
| 1 | POWER | Schaltet den Receiver ein bzw. aus |
| 2 | IR-Empfänger | Empfängt die Infrarot-Signale der Fernbedienung |
| 3 | Geräteedisplay | OLED 128 x 32 Pixel |
| 4 | Abdeckklappe | Hinter der Abdecklappe bedinden sich 2 Smartcardreader und 1 CI-Schacht |
| 5 | Menü | Öffnet das Hauptmenü oder geht zurück zum vorherigem Menü |
| 6 | OK | Bestätigt die Menüauswahl |
| 7 & 8 | CH+ / CH- | Programmwechsel / Menü auf/ab |
| 9 & 10 | Vol+ / Vol- | Lautstärkeregelung |
| 11 | V.F | Wechselt das Videoausgabeformat unter den voreingestellten Betriebsarten (siehe NeutrinoHD Videosysteme) |
| 12 | USB Anschluß | USB 2.0 Anschluß (max. 500mA) |
Rückseite
| Nummer | Anschluß | Funktion |
| 1 | Tuner1: DVB-S oder DVB-C | Anschlüße für LNB IN (13/18V max.500mA) oder KabelTV RF |
| 2 | Tuner2: DVB-S oder DVB-C | Anschlüße für LNB IN (13/18V max.500mA) oder KabelTV RF |
| 3 | Video | Videoausgang Cinch |
| 4 | Audio | Audioausgang links&Rechts Cinch |
| 5 | RS232 Out | Serieller Anschluß (zu Wartungszwecken) |
| 6 | RJ11 | Modemanschluß |
| 7 | S/PDIF | Optischer Digitaler Ausgang |
| 8 | USB | USB 2.0 Anschluß (max. 500mA) |
| 9 | Component Out | Componentenausgang zur analogen Bildwiedergabe über 3 Cinchbuchsen |
| 10 | TV | Scart-Anschluß |
| 11 | HDMI | HDMI 1.3 Anschluß |
| 12 | E-Sata | E-Sata-Anschluß zur Einbindung von externen Datenträgern |
| 13 | Ethernet | Netzwerkanschluß über RJ45 Stecker (100Mbit/s) |
| 14 | Netzanschluß | EU Netzkabelbuchse AC100V-250V~ / 50Hz/60Hz / max.45Watt |
Fernbedienung
Nähere Informationen zur Fernbedienung sind hier nachzulesen.
Innenleben
SoC Conexant/NXP/Trident CX2450x (Nevis)
Das SoC (System on Chip) stammt ursprünglich von Conexant. Nach dem Verkauf der Multimediasparte von Conexant übernahm NXP, eine Tocher von Philips, die Weiterentwicklung und Produktion des Chips. NXP wiederum verkaufte die Entwicklung kurze Zeit später an Trident. Die Herstellung des Chips erfolgt weiterhin bei NXP.
Nachfolgend die Features des SOC etwas ausführlicher:
Video Decoder MPEG-2/H.264/VC-1
- Capable of decoding an HDTV program in the following formats: MPEG-2 MP@HL, MP@ML. MP@LL, SP@ML, AVC HP@L4.1, VC-1 AP@L3 and MP@HL
- Supports decoding for picture sizes up to 1920x1080 @ 30fps; supports all ATSC, DIRECTV, DVB and SCTE formats
- Supports OpenCable HDTV constrained image output on YPrPb
- Supports Advanced DTV closed captions according to EIA-708-B
- Supports Analog closed captions per EIA-608
- Supports MPEG-1 video decoding with up-sampling and filtering of low resolution video modes to full CCIR601 picture size
- Supports 14:9, 16:9 and 20:9 image aspect ratios through pan/scan or letterboxing
- Supports 3:2 pull-down of 24fps video sequence
- Supports video trick modes for PVR applications
- Automatic error concealment
Audio Decoder
- Program decoding of MPEG-1, MPEG-2, Dolby Digital, Dolby Digital Plus, MPEG-2 AAC, MPEG-4 AAC, aacPlus and WMA encoded bit-streams
- Decodes MPEG-1 Layer I and II (MUSICAM) ISO 11172
- Supports MPEG-1 Layer 3 (MP3) decode
- Supports Windows Media Audio v.9 and WMA Pro decoding
- Supports transcoding of Dolby Digital Plus with downmix to 2-channel stereo and Dolby Digital transcode
- Supports transcoding of aacPlus with down-mix to 2-channel stereo and DTS transcode
- Stereo down-mix extraction from multi-channel MPEG-2 source
- Up to 4-bit LPCM 2-channel output in I2S or left justified serial formats
- Supports sample rates of 16, 22.05, 24, 32, 44.1, 48kHz
- Stereo 24-bit audio DAC for analog audio output
- Automatic error concealment
- A/V synchronization using PTS and STC
- 2-channel ProLogic encoded Dolby Digital down-mix output via I2S and integrated stereo audio DAC
- Single program encoded bit-stream output on S/PDIF port
CPU ARM1176EJ-S
- 736 Dhrystone 1.24 MIPS at 594MHz
- 32 kB data cache, 32 kB instruction cache
- Linux/WinCE compatible MMU
- Java support through ARMs Jazelle technology
RAM Chips
384 MB DDR2-667 RAM Der in allen Boxen verbaute DDR2-SDRAM komm von Hynix und ist vom Typ HY5PS1G1613CFP
Flash Chips
32 MB Flash Memory Als Flash kommen entweder zwei Chips vom Typ S29GL128P (nur Ur-HD1, 128 Mbit) oder ein Chip vom Typ S29GL256P (256 Mbit) von Spansion (ehemals AMD) zum Einsatz. Das ergibt dann jeweis die 32 MB. Hardwaremäßig möglich sind maximal 256 MB (zwei Chips vom Typ S29GL01GP).
Tuner (Frontend)
DVB-S/S2 (Satellit)
In der Twin-Version kommen zwei Tuner vom Typ GST GSKM-Z1/G
- Demodulator AVL2108LG
- Tunerchip MAX2119C
DiSEqC
Die NEO Twin unterstützt in der Sat-Variante DiSEqC 1.0, 1.1, 1.2, 1.3 USALS
DVB-C (Cable/Kabel)
Als Kabeltuner sind in der ersten Baureihe zwei Tuner vom Typ DTC5-C22FM1V (Baugleich Philips/NXP CU1216) verbaut.
- Demodulator TDA10023HT (NXP)
- Tunerchip TDA6509 (NXP)
Seit der zweiten Baureihe kommt ein Dualtuner vom Typ GST GCKP-40 zum Einsatz.
- Demodulator TDA10025 (NXP)
- Tunerchip TDA18260 (NXP)
DVB-T (Terrestrisch)
Eine DVB-T Variante der NEO Twin ist nicht vorgesehen.
HDMI-Transmitter
Ausgangsformate:
- YCrCb gemäß ITU-R BT.601 (für SD)
- YCrCb gemäß ITU-R BT.709 part 2 (EIA 770.3 / SMPTE 274M / SMPTE 296M) (für HD)
- YCrCb 4:2:2 (12 bit für Y und 12 bit für C)
- Full Range RGB (8 bit pro Kanal mit Wertebereich von 0 bis 255)
- Limited Range RGB (8 bit pro Kanal mit Wertebereichvon 16 bis 235)
Eingangsformate:
- Am Eingang bekommt und akzeptiert er ausschließlich 10-bittiges YCbCr 4:4:4 gemäß ITU-R BT.601
HINWEIS: Zum Schutz des HDMI-Transmitters kommt ausgangsseitig ein Chip der Fa. CMD (California Micro Devices) vom Typ CM2020-00TR zum Einsatz.
CAM-Chip
Frontprozessor
Netzwerk-Schnittstelle
Die Netzwerkschnittstelle besteht aus einem MAC (Media Access Controller), welcher integraler Bestandteil des SoC ist, und dem physikalischen Interface (PHY), welches ein einem externen Chip vom Typ IP101 untergebracht ist. Die Netzwerkschnittstelle unterstützt Datenraten von 10 Mbit/s und 100 Mbit/s sowohl im Halb- wie auch im Vollduplex.
- MAC (Media Access Controller): Conexant VMAC im SoC integriert
- PHY bzw. PLI (Physical Layer Interfae): IP101 (kompatibel zum Realtek RTL8201)
Serielle Schnittstelle COM
Folgende Einstellungen müssen zum Auslesen eines seriellen Logs am Terminalprogramm vorgenommen werden
- Datenrate: 115200 Bd
- Datenbits: 8
- Stopbits: 1
- Parität (Parity): keine
- Flußsteuerung (Handshake): keine
- Terminalemulation: Linux (ähnlich ANSI bzw. VT100)
Hinweis:Die HD1/NEO/ZEE hat eine "echte" RS232 - wenn auch im unteren zulässigen Spannungsbereich. Die Pegel liegen bei ca. +/- 4V.
Modem
Netzteil
IR-Sender/Empfänger
Optischer Ausgang (S/PDIF)
Zum Einsatz kommt ein zum TOTX178 kompatibler Sender gemäß TOSLINK-Spezifikation mit F05-Buchse.
HowTos
Identifikation der verschiedenen Modelle
Über die Seriennummern lässt sich das Modell identifizieren:
